Bedrooms
Bathrooms
6862 Holo Ct, North Port, FL
2 Bd
2 Ba
MLS® C7519219 • ccrfl, llc.
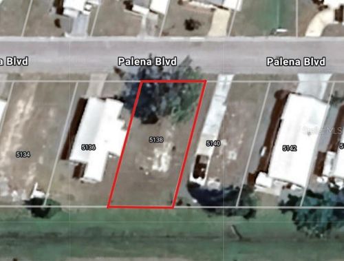
5138 Palena Blvd, North Port, FL
0 Bd
0 Ba
MLS® OM715238 • SUNCOAST MANSIONS LLC
6922 Apopo Ct, North Port, FL
MLS® C7518655 • coldwell banker sunstar realty
6943 Awawa Ct, North Port, FL
MLS® C7518000 • coldwell banker sunstar realty
6444 Haele Ct, North Port, FL
MLS® C7517978 • coldwell banker sunstar realty
6642 Acacia Ct, North Port, FL
MLS® C7517851 • re/max palm realty
6456 Haele Ct, North Port, FL
MLS® C7516827 • coldwell banker sunstar realty
We'll keep you up to date on all the new listings for this search